تشينغداو Ruichen شركة تكنولوجيا الختم المحدودة
تشينغداو Ruichen شركة تكنولوجيا الختم المحدودة
منتجات
X

الأختام النفط TC

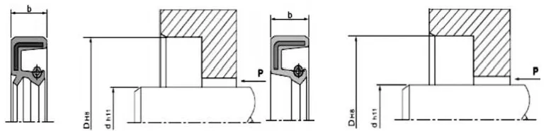
يتم تثبيت أختام شفة العمود الدوار، المعروفة باسم أختام الزيت، في مبيت المحمل وتتحرك بالنسبة إلى العمود الدوار. يوفر الهيكل المعدني الدعم، ويطبق الزنبرك التحميل المسبق الشعاعي على شفة الختم لمنع تسرب مواد التشحيم ودخول الملوثات الخارجية.

هيكل التثبيت والمتطلبات

1. مادة العمود: شائعة الاستخدام هي الفولاذ الكربوني والفولاذ المقاوم للصدأ. للسرعات العالية، يتم تطبيق طلاء الكروم على السطح، HRC40-45.

2. تصميم العمود الدوار والأخاديد: يجب أن يكون سطح العمود أملسًا وخاليًا من النتوءات. يمكن لعلامات المعالجة الحلزونية أن تخلق تأثير ضخ، مما يؤدي إلى التسرب. من المستحسن أن يتم طحن منطقة تركيب ختم الزيت إلى خشونة سطحية تبلغ Ra0.1-0.5μm، لتصبح أكثر سلاسة مع زيادة السرعة. لسهولة التركيب والتفكيك، يجب تصميم العمود والأخاديد بحواف مشطوفة أو مستديرة، انظر الشكلين 1 و2.

ارتفاع الختم

b

ب1(0.85xب)

مم

ب2(ب+0.3)

مم

r

الأعلى.

7

5.95

7.3

0.5

8

6.80

8.3

0.5

10

8.50

10.3

0.5

12

10.30

12.3

0.7

15

12.75

15.3

0.7

20

17.00

20.3

0.7

الشكل 1. تصميم الشطب الأخدود


d

د3

R

<10

د-1.5

2

10 ~ 20

د-2.0

2

20 ~ 30

د-2.5

3

30 ~ 40

د-3.0

3

40 ~ 50

د-3.5

4

50~70

د-4.0

4

70 ~ 95

د-4.5

5

95 ~ 130

د-5.5

6

130 ~ 240

د-7.0

8

240 ~ 500

د-11.0

12

500 ~ 800

د-14.0

14

800 ~ 1250

د-18.0

16

الشكل 2: تصميم الشطب للعمود الدوار


العوامل المؤثرة على أداء أختام شفة العمود الدوار 

هناك العشرات من العوامل التي تؤثر على تأثير الختم. إلى جانب ختم الزيت نفسه، مثل المادة والهيكل، فإن عوامل أخرى مثل الوسط ودرجة الحرارة والضغط والتشحيم والسرعة وخشونة السطح تؤثر أيضًا بشكل مباشر على تأثير الختم، وهذه العوامل غالبًا ما تتفاعل مع بعضها البعض. الرسوم البيانية التالية هي للإشارة إلى المستخدم فقط.

الشكل 3. تأثير درجة الحرارة على ختم الزيت


التثبيت: يعد التثبيت الدقيق شرطًا أساسيًا للتشغيل السليم لأختام الزيت.

مخطط التثبيت (تركيب التجويف)

طريقة التثبيت الصحيحة

ظروف العمل المعمول بها

طريقة التثبيت غير صحيحة

هذه الطريقة قابلة للتطبيق فقط عندما يكون الوجه النهائي لختم الزيت والوجه النهائي للتجويف متساطحين. عندما تعمل معدات الضغط بسرعة، يجب وضع ختم الزيت بشكل صحيح؛ وإلا قد يحدث اختلال في المحاذاة.

 

هذا التصميم مناسب للحالات التي يكون فيها وجه نهاية ختم الزيت أقل من وجه نهاية التجويف. حتى مع الضغط السريع، لا يزال من الممكن وضع ختم الزيت في مكانه الصحيح. مع ذلك، هذا النوع من التركيبات يفتقر إلى التموضع الشعاعي، وبالتالي فإن العمودية المحورية للوحة المسطحة لجهاز الضغط وعمود الضغط يجب أن تحقق دقة معينة.

هذه الطريقة مناسبة للحالات التي يكون فيها سطح نهاية ختم الزيت أقل من سطح نهاية التجويف. عند الضغط على المعدات بسرعة، من الضروري التأكد من وضع مانع تسرب الزيت بشكل صحيح؛ وإلا قد يحدث اختلال في المحاذاة.


 

 


هذه الطريقة مناسبة فقط لظروف الصيانة أو التركيب البسيط حيث لا تتوفر معدات الضغط. نظرًا لأنه لا يمكن تحقيق الضغط الموحد تمامًا أثناء التثبيت، فإن مشكلات التثبيت المختلفة لا مفر منها. لقد تم تصميمه في المقام الأول لمنع اختلال المحاذاة الشعاعية أثناء التثبيت، مما قد يؤدي إلى تشوه ختم الزيت، أو لمنع تلف المطاط الخاص بجزء تزاوج ختم الزيت (الدائرة الخارجية) بسبب التوقف المؤقت أثناء التثبيت. لذلك، لا يُنصح باستخدام طريقة التثبيت هذه بشكل عام.

 

أختام الزيت TC/SC/TB/SB

كلاهما يتكون من إطار معدني وزنبرك وجسم مطاطي. يوفر الإطار المعدني الدعم، ويطبق الزنبرك قوة شعاعية على شفة الغلق. يحتوي كلا الطرازين TC وTB على شفة مساعدة مقاومة للغبار، ومناسبة للتطبيقات حيث يحتوي أحد الجانبين على وسيط الختم والجانب الآخر يحتوي على غبار. تتميز موديلات TB/SB بدائرة خارجية معدنية، مما يجعل ختم الزيت أكثر أمانًا ودقة داخل التجويف. ومع ذلك، فإن قدرة الختم للدائرة الخارجية محدودة بالنسبة للوسائط منخفضة اللزوجة والغازية؛ لذلك، يوصى بوضع مادة مانعة للتسرب على الدائرة الخارجية أثناء التثبيت والاستخدام.

شكل مقطعي

نموذج

طلب

ضغط

درجة حرارة

سرعة

واسطة

مادة

ح

الختم، الغبار

0.03 ميجا باسكال

-30~+160

20 م / ث

زيوت التشحيم والشحوم

NBR/FKM + الكربون الصلب

SC

ختم

السل

الختم، الغبار

-30~+100

25 م / ث

الماء، زيت التشحيم، الشحوم

NBR + الكربون الصلب

س.ب

ختم

نموذج الطلب TC-d*D*b

مواصفة

مواصفة

مواصفة

مواصفة

مواصفة

مواصفة

مواصفة

تك-6*17*3.5

تك-9*25*7

تك-10*30*7

تك-12*25*10

تك-13*25*7

تك-14*32*8

تك-15*30*7

تك-7*18*7

تك-10*18*7

تك-11*22*7

تك-12*26*7

تك-13*26*7

تك-14*32*10

تك-15*30*8

تك-8*18*7

تك-10*19*7

تي سي-I1*25*7

تك-12*28*7

تك-13*28*7

تك-14*35*7

تك-15*30*10

تك-8*20*7

تك-10*20*5

تك-11*30*10

تك-12*28*8

تك-13*30*8

تك-14*35*8

تك-15*32*7

تك-8*22*7

تك-10*20*7

تك-12*19*3

تك-12*30*7

تك-14*24*7

تك-14*40*7

تك-15*32*10

تك-8*22*8

تك-10*22*5

تك-12*20*7

تك-12*30*10

تك-14*25*7

تك-15*22*8

تك-15*35*7

تك-8*25*7

تك-10*22*7

تك-12*21*7

تك-12*32*7

تك-14*26*7

تك-15*24*7

تك-15*35*8

تك-8*25*8

تك-10*22*8

تك-12*22*5

تك-12*32*10

تك-14*27*7

تك-15*25*5

تك-15*35*10

تك-8*30*7

تك-10*22*10

تك-12*22.5*5.5

تك-12*35*7

تك-14*28*7

تك-15*25*7

تك-15*38*7

تك-9*16*5

تك-10*24*7

تك-12*22*7

تك-12*35*10

تك-14*28*8

تك-15*25*8

تك-15*38*8

تك-9*18*7

تك-10*25*5

تك-12*22*8

تك-12.7*22.22*5

تك-14*28*10

تك-15*26*7

تك-15*38*10

تك-9*19*7

تك-10*25*7

تك-12*24*6

تك-12.7*25.4*7

تك-14*29*7

تك-15*27*7

تك-15*40*8

تك-9*20*7

تك-10*25*10

تك-12*24*7

تك-12.7*26*8

تك-14*30*7

تك-15*27*8

تك-15*40*10

تك-9*22*7

تك-10*26*7

تك-12*25*7

تك-12.7*30*8

تك-14*30*10

تك-15*28*7

تك-15*42*7

تك-9*24*7

تك-10*28*7

تك-12*25*8

تك-13*23*7

تك-14*32*7

تك-15*28*10

تك-15*42*8

 




الكلمات الساخنة: الأختام النفط TC
إرسال استفسار
معلومات الاتصال
  • عنوان

    رقم 1 طريق رويتشن، مجمع دونغليوتينغ الصناعي، منطقة تشنغيانغ، مدينة تشينغداو، مقاطعة شاندونغ، الصين

  • بريد إلكتروني

    info.sealing@ruichenseal.com

احصل على الأسعار التنافسية والدعم الفني والاستجابات السريعة. أرسل مواصفاتك إلى Ruichen لحلول الختم المصممة. عينات مجانية متاحة.
X
نحن نستخدم ملفات تعريف الارتباط لنقدم لك تجربة تصفح أفضل، وتحليل حركة مرور الموقع، وتخصيص المحتوى. باستخدام هذا الموقع، فإنك توافق على استخدامنا لملفات تعريف الارتباط. سياسة الخصوصية
يرفض يقبل