|
الضغط/ميغاباسكال |
درجة الحرارة / درجة مئوية |
السرعة / م / ث |
واسطة |
|
≥40 |
-35~+100 (مع حلقات NBR المطابقة) |
≥2 |
الزيت الهيدروليكي، المستحلب، الماء، الغاز، إلخ. |
-20~+200 (مع حلقات O مطابقة FKM) |
1. تشمل المواد المناسبة للحلقة الدائرية: مطاط النتريل بوتادين R01 (NBR)، مطاط الفلور R02 (FKM)، إلخ.
2. مواد حلقة الختم: المواد القياسية PTFE3 وPTFE4؛ وتشمل المواد الاختيارية الأخرى PTFE1، وPTFE2، وPTFE5.
قامت Ruichen بإجراء بحث وتطوير وإنتاج مستقل منذ بداية المواد الخام، مما أدى إلى تحقيق التحكم في سلسلة المنتجات بأكملها.
1. اللدائن الهندسية والمواد المركبة: نحن نأخذ البولي تترافلوروإيثيلين (PTFE) كجوهر، من الخلط، والتلبيد إلى القولبة، والإنتاج المستقل لجميع أنواع أنابيب وقضبان المواد المركبة المعدلة المملوءة، ومن ثم المعالجة الدقيقة إلى موانع التسرب. وهذا يضمن الاستقرار وقابلية تخصيص خصائص المواد.
2. مطاط البولي يوريثين عالي الأداء: نبدأ من صب البوليمر المسبق، وننتج بشكل مستقل مواد أنابيب وقضبان البولي يوريثين عالية الجودة، ونقوم بمعالجتها إلى أنواع مختلفة من الأختام، والتي تتميز بمقاومة التآكل، ومقاومة الضغط، ومقاومة التحلل المائي.
مثال الطلب
نموذج الطلب RC2054—80×69×4.2—PTFE3—R01 الطراز-D*d*L- رمز المادة نموذج الطلب RCX18—80×69x4.2—HPU الطراز-D*d*L- رمز المادة
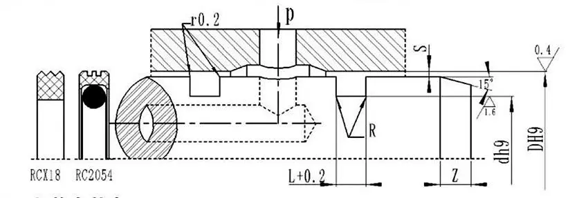
جدول المواصفات والمعلمات (أي مواصفات ضمن نطاق المعلمات متاحة)
|
نطاق الفتحة درهم9 |
قطر الخندق درهم9 |
عرض الخندق L+0.2 |
الخلوص الشعاعي |
زوايا مدورة رماكس |
الشطب زمين |
|
|
0 ~ 10 ميجا باسكال |
10 ~ 20 ميجا باسكال |
|||||
|
8 ~ 39 |
د-4.9 |
2.2 |
0.15 |
0.1 |
0.4 |
2 |
|
40~79 |
د-7.5 |
3.2 |
0.2 |
0.15 |
0.6 |
3 |
|
80 ~ 132 |
د-11.0 |
4.2 |
0.25 |
0.2 |
1.0 |
4 |
|
133~329 |
د-15.5 |
6.3 |
0.3 |
0.25 |
1.3 |
5 |
|
330~669 |
د-21.0 |
8.1 |
0.3 |
0.25 |
1.8 |
7 |
|
670 ~ 1500 |
د-28.0 |
9.5 |
0.45 |
0.3 |
2.0 |
8 |
|
D |
d |
L |
D |
d |
L |
D |
d |
L |
D |
d |
L |
|
8 |
3.1 |
2.2 |
50 |
42.5 |
3.2 |
170 |
154.5 |
6.3 |
380 |
359.0 |
8.1 |
|
10 |
5.1 |
2.2 |
55 |
47.5 |
3.2 |
180 |
164.5 |
6.3 |
390 |
369.0 |
8.1 |
|
12 |
7.1 |
2.2 |
60 |
52.5 |
3.2 |
190 |
174.5 |
6.3 |
400 |
379.0 |
8.1 |
|
14 |
9.1 |
2.2 |
63 |
55.5 |
3.2 |
200 |
184.5 |
6.3 |
420 |
399.0 |
8.1 |
|
15 |
10.1 |
2.2 |
65 |
57.5 |
3.2 |
210 |
194.5 |
6.3 |
450 |
429.0 |
8.1 |
|
16 |
11.1 |
2.2 |
70 |
62.5 |
3.2 |
220 |
204.5 |
6.3 |
480 |
459.0 |
8.1 |
|
18 |
13.1 |
2.2 |
75 |
67.5 |
3.2 |
230 |
214.5 |
6.3 |
500 |
479.0 |
8.1 |
|
20 |
15.1 |
2.2 |
80 |
69.0 |
4.2 |
240 |
224.5 |
6.3 |
520 |
499.0 |
8.1 |
|
22 |
17.1 |
2.2 |
85 |
74.0 |
4.2 |
250 |
234.5 |
6.3 |
550 |
529.0 |
8.1 |
|
24 |
19.1 |
2.2 |
90 |
79.0 |
4.2 |
260 |
244.5 |
6.3 |
600 |
579.0 |
8.1 |
|
25 |
20.1 |
2.2 |
95 |
84.0 |
4.2 |
270 |
254.5 |
6.3 |
630 |
609.0 |
8.1 |
|
28 |
23.1 |
2.2 |
100 |
89.0 |
4.2 |
280 |
264.5 |
6.3 |
650 |
629.0 |
8.1 |
|
30 |
25.1 |
2.2 |
105 |
94.0 |
4.2 |
290 |
274.5 |
6.3 |
670 |
642.0 |
9.5 |
|
32 |
27.1 |
2.2 |
110 |
99.0 |
4.2 |
300 |
284.5 |
6.3 |
700 |
672.0 |
9.5 |
|
35 |
30.1 |
2.2 |
115 |
104.0 |
4.2 |
310 |
294.5 |
6.3 |
750 |
722.0 |
9.5 |
|
36 |
31.1 |
2.2 |
120 |
109.0 |
4.2 |
320 |
304.5 |
6.3 |
800 |
772.0 |
9.5 |
|
38 |
33.1 |
2.2 |
125 |
114.0 |
4.2 |
330 |
309.0 |
8.1 |
1000 |
972.0 |
9.5 |
|
40 |
32.5 |
3.2 |
130 |
119.0 |
4.2 |
340 |
319.0 |
8.1 |
|
|
|
|
42 |
34.5 |
3.2 |
140 |
124.5 |
6.3 |
350 |
329.0 |
8.1 |
|
|
|
|
45 |
37.5 |
3.2 |
150 |
134.5 |
6.3 |
360 |
339.0 |
8.1 |
|
|
|
|
48 |
40.5 |
3.2 |
160 |
144.5 |
6.3 |
370 |
349.0 |
8.1 |
|
|
|
ملحوظة: المواصفات المطلوبة غير مذكورة هنا؛ يرجى الاتصال بشركتنا. نحن نقدم منتجات بقطر أقصى يبلغ 2800 مم.



عنوان
رقم 1 طريق رويتشن، مجمع دونغليوتينغ الصناعي، منطقة تشنغيانغ، مدينة تشينغداو، مقاطعة شاندونغ، الصين
هاتف
بريد إلكتروني