|
الضغط/ميغاباسكال |
درجة الحرارة / درجة مئوية |
السرعة / م / ث |
واسطة |
|
≥40 |
-35~+100 (مع حلقة NBR O) |
≥2 |
الزيت الهيدروليكي، المستحلب، الماء، الغاز، إلخ. |
|
-20~+200 (مع حلقة FKM O) |
1. مواد الحلقة الدائرية المتاحة: مطاط النتريل بوتادين R01 (NBR)، مطاط الفلور R02 (FKM)، إلخ.
2. مواد حلقة الختم: المواد القياسية PTFE3 وPTFE4؛ وتشمل المواد الاختيارية الأخرى PTFE1، وPTFE2، وPTFE5.
مثال الطلب
نموذج الطلب RC2052—80x91×4.2—PTFE3—R01 Model-dxDxL- رمز المادة
نموذج الطلب RCX17—80x91×4.2—HPU Model-dxDxL- رمز المادة
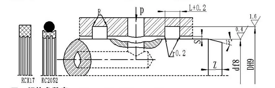
جدول المواصفات والمعلمات (أي مواصفات ضمن نطاق المعلمات متاحة)
|
نطاق قطر رمح د f8 |
قطر الخندق درهم9 |
عرض الخندق L+⁰.2 |
الخلوص الشعاعي |
زوايا مدورة رماكس |
الشطب زمين |
|
|
0 ~ 10 ميجا باسكال |
10 ~ 20 ميجا باسكال |
|||||
|
6 ~ 18 |
د+49 |
2.2 |
0.15 |
0.1 |
0.4 |
2 |
|
19 ~ 37 |
د+7.5 |
3.2 |
0.2 |
0.15 |
0.6 |
3 |
|
38~199 |
د+11.0 |
4.2 |
0.25 |
0.2 |
1.0 |
4 |
|
200 ~ 255 |
د+15.5 |
6.3 |
0.3 |
0.25 |
1.3 |
5 |
|
256~649 |
د+21.0 |
8.1 |
0.3 |
0.25 |
1.8 |
7 |
|
650 ~ 1500 |
د+28.0 |
9.5 |
0.45 |
0.3 |
2.0 |
8 |
ملاحظة: بالنسبة لأقطار العمود ≥ 30 مم، يوصى بفتح الأخاديد.
|
d |
D |
L |
d |
D |
L |
d |
D |
L |
d |
D |
L |
|
8 |
12.9 |
2.2 |
48 |
59.0 |
4.2 |
150 |
161.0 |
4.2 |
350 |
371.0 |
8.1 |
|
10 |
14.9 |
2.2 |
50 |
61.0 |
4.2 |
160 |
171.0 |
4.2 |
360 |
381.0 |
8.1 |
|
12 |
16.9 |
2.2 |
55 |
66.0 |
4.2 |
170 |
181.0 |
4.2 |
370 |
391.0 |
8.1 |
|
14 |
18.9 |
2.2 |
60 |
71.0 |
4.2 |
180 |
191.0 |
4.2 |
380 |
401.0 |
8.1 |
|
15 |
19.9 |
2.2 |
63 |
74.0 |
4.2 |
190 |
201.0 |
4.2 |
390 |
411.0 |
8.1 |
|
16 |
20.9 |
2.2 |
65 |
76.0 |
4.2 |
200 |
215.5 |
6.3 |
400 |
421.0 |
8.1 |
|
18 |
22.9 |
2.2 |
70 |
81.0 |
4.2 |
210 |
225.5 |
6.3 |
420 |
441.0 |
8.1 |
|
20 |
27.5 |
3.2 |
75 |
86.0 |
4.2 |
220 |
235.5 |
6.3 |
450 |
471.0 |
8.1 |
|
22 |
29.5 |
3.2 |
80 |
91.0 |
4.2 |
230 |
245.5 |
6.3 |
480 |
501.0 |
8.1 |
|
24 |
31.5 |
3.2 |
85 |
96.0 |
4.2 |
240 |
255.5 |
6.3 |
500 |
521.0 |
8.1 |
|
25 |
32.5 |
3.2 |
90 |
101.0 |
4.2 |
250 |
265.5 |
6.3 |
520 |
541.0 |
8.1 |
|
28 |
35.5 |
3.2 |
95 |
106.0 |
4.2 |
260 |
281.0 |
8.1 |
550 |
571.0 |
8.1 |
|
30 |
37.5 |
3.2 |
100 |
111.0 |
4.2 |
270 |
291.0 |
8.1 |
600 |
621.0 |
8.1 |
|
32 |
39.5 |
3.2 |
105 |
116.0 |
4.2 |
280 |
301.0 |
8.1 |
630 |
651.0 |
8.1 |
|
35 |
42.5 |
3.2 |
110 |
121.0 |
4.2 |
290 |
311.0 |
8.1 |
650 |
678.0 |
8.1 |
|
36 |
43.5 |
3.2 |
115 |
126.0 |
4.2 |
300 |
321.0 |
8.1 |
670 |
698.0 |
9.5 |
|
38 |
49.0 |
4.2 |
120 |
131.0 |
4.2 |
310 |
331.0 |
8.1 |
700 |
728.0 |
9.5 |
|
40 |
51.0 |
4.2 |
125 |
136.0 |
4.2 |
320 |
341.0 |
8.1 |
750 |
778.0 |
9.5 |
|
42 |
53.0 |
4.2 |
130 |
141.0 |
4.2 |
330 |
351.0 |
8.1 |
800 |
828.0 |
9.5 |
|
45 |
56.0 |
4.2 |
140 |
151.0 |
4.2 |
340 |
361.0 |
8.1 |
1000 |
1028.0 |
9.5 |
ملحوظة: المواصفات المطلوبة غير مذكورة هنا؛ يرجى الاتصال بشركتنا. نحن نقدم منتجات بقطر أقصى يبلغ 2800 مم.





تعليمات التثبيت والاستخدام الشاملة
يعرف Rui Chen أن التثبيت الصحيح هو الشرط الأساسي الأول لضمان الأداء الكامل للأختام، وسنقدم لك أيضًا إرشادات شاملة حول استخدام كل منتج، وخاصة الأجزاء المخصصة المعقدة أو غير القياسية، وسيكون هناك دليل تثبيت رسومي مفصل.
هذه الأدلة مصحوبة برسومات بيانية عالية الوضوح خطوة بخطوة وتعليمات نصية توضح بوضوح نقاط الفحص قبل التثبيت وخطوات التثبيت الصحيحة والأدوات المطلوبة والعمليات الخاطئة التي يجب تجنبها، كما لو كان مهندسونا في الموقع. بالإضافة إلى ذلك، بالنسبة للتجميعات أو الأنظمة المعقدة، نقوم بإنشاء مقاطع فيديو تعليمية احترافية تتيح للمشغلين لديك إتقان تقنيات التثبيت والاحتياطات بشكل بديهي وسريع من خلال العروض التوضيحية الديناميكية، مما يقلل بشكل كبير من خطر الفشل المبكر بسبب التثبيت غير الصحيح.
عنوان
رقم 1 طريق رويتشن، مجمع دونغليوتينغ الصناعي، منطقة تشنغيانغ، مدينة تشينغداو، مقاطعة شاندونغ، الصين
هاتف
بريد إلكتروني