يتم استخدام حلقة الاحتفاظ بالاقتران مع حلقة O-Ring أو النجوم لمنع حلقة الختم من الضغط في الفجوة على جانب الضغط المنخفض تحت ضغط الضغط. مع استمرار زيادة الضغط ، تتضرر حلقة الختم بسبب "البثق" وفشل في النهاية في الختم. إذا تم استخدام حلقة الاحتفاظ ، يمكن منع "بثق" حلقة الختم. لذلك ، فإن الخاتم الاحتفاظ به مكمل لحلقة الختم. إنه ليس ختمًا نفسه ، لكنه يزيد من نطاق ضغط العمل في حلقة الختم.
يتم استخدام حلقة الاحتفاظ بالاقتران مع الحلقة O لمنعها من "البثق" ، وحماية الدوران O بشكل فعال ، وزيادة عمر الخدمة ، والسماح بفجوة ختم أكبر ، وبالتالي تقليل تكاليف المعالجة.
ميزات وتطبيقات المنتج:
الاحتفاظ شكل الحلقة ونوع الهيكل
البيانات الفنية
ضغط العمل: يمكن أن يصل الختم الثابت إلى حوالي 200 ميجا باسكال (اعتمادًا على المادة ونوع الختم من حلقة الاحتفاظ) ، يمكن أن يصل الختم المتبادل إلى حوالي 40 ميجا باسكال. يمكن أن تصل دوران السرعة البطيء/البطيء إلى حوالي 15 ميجا باسكال.
السرعة: يمكن أن تصل الترددة والدوران إلى حوالي 2 متر/ثانية (اعتمادًا على المادة).
ترتيب المعايير
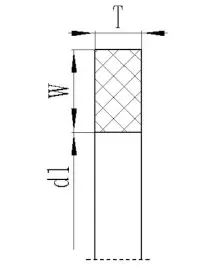
(1) تتكون حلقات الاحتفاظ سلسلة T01 من القطر الداخلي D1 ، العرض W والسماكة T.
مثال: T01-00356 D1: 3.56*W: 1.35*T: 1.23
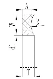
(2) تتكون حلقات الاحتفاظ سلسلة T02 من القطر الداخلي D1 ، العرض W ، وسمك A و T.
مثال: T02-027 D1: 33.78*W: 1.35*A: 1.14*T: 1.24



عنوان
رقم 1 طريق رويتشن، مجمع دونغليوتينغ الصناعي، منطقة تشنغيانغ، مدينة تشينغداو، مقاطعة شاندونغ، الصين
هاتف
بريد إلكتروني