تشمل الأختام الهيدروليكية الأساسية لـ Ruichen Seals بشكل أساسي عدة أنواع من الأختام ، ولكل منها مزاياها الخاصة. تستخدم الحلقات O على نطاق واسع في مناسبات الختم الديناميكية والثابتة المختلفة بسبب انخفاض تكلفة التصنيع والاستخدام المريح. صاغت معظم البلدان سلسلة من معايير المنتجات للحلقات O ، من بينها المعيار الأمريكي (AS568) والمعيار الياباني (JISB2401) والمعيار الدولي (ISO 3601/1) أكثر شيوعًا. المعايير الوطنية هي GB3452.1 و GB1235.
حلقة الختم على شكل نجمة عبارة عن ختم ذو أربعة أشواط مع شكل على شكل X ، لذلك يطلق عليه أيضًا حلقة على شكل X. إنه تحسن وتعزيز على أساس الحلقة O. أبعادها المستعرضة هي نفس حلقة O للولايات المتحدة كمعيار 568A ، ويمكن أن تحل محل استخدام الحلقة O بشكل أساسي.
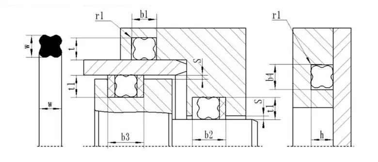
مزايا حلقات النجوم
بالمقارنة مع حلقات O ، فإن حلقات النجوم لديها مقاومة احتكاك أقل وأقل مقاومة للبدء لأنها تشكل تجويفًا تشحيمًا بين شفاه الختم. نظرًا لأن حافة الفلاش موجودة في الجزء المقعر من المقطع العرضي ، فإن تأثير الختم أفضل. يتجنب المقطع العرضي غير الدائري بشكل فعال ظاهرة المتداول أثناء الحركة بالمثل.
آلية عمل حلقة النجوم
حلقة النجوم هي عنصر ختم مزدوج المفعول ذاتيا. تعتمد القوى الشعاعية والمحورية على ضغط النظام. مع ارتفاع الضغط ، سيزداد تشوه الضغط في حلقة النجوم ، وستزداد قوة الختم الكلية ، وبالتالي تشكل ختم موثوق به.
كيفية اختيار خاتم الختم على شكل نجمة
إذا كان قطر العمود والفتحة معروفًا ، فحدد حلقة الختم المناسبة على شكل نجمة وفقًا للمعايير التالية:
1. الحركة الثابتة أو الحركة الخطية المتبادلة: (1) ختم الفتحة: يجب أن يكون القطر الداخلي للحلقة على شكل نجمة متوافقًا مع الأخدود ، أو أقل من حوالي 2 ٪ من قطر القاع. نظرًا لأن قوة الضغط المسبق الناتجة عن الضغط المسبق يمكن أن تمنع بشكل فعال حلقة الختم على شكل نجمة من التواء واللف. (2) ختم العمود: يجب أن يكون القطر الداخلي للحلقة على شكل نجمة مساوياً أو أكبر من القطر الخارجي للعمود بحوالي 0.2 ~ 0.3 مم ، أو يمكن أن يكون أكبر بنسبة 1 ٪ من القطر الخارجي للعمود. نتيجة لذلك ، سيكون تثبيت حلقة الختم أسهل في التثبيت ولديهم عمر خدمة أطول.
2. الختم الدوار: يجب أن يكون القطر الداخلي للحلقة على شكل نجمة أكبر بحوالي 2 ~ 5 ٪ من قطر العمود الذي يختمه. لأن حلقة الختم ستولد الاحتكاك والحرارة عند استخدامها في حركة دوارة ، وسيتقلص المطاط عند تسخينه (تأثير Joule). لذلك ، من أجل التأكد من أنه يمكن تشحيم حلقة الختم والعمل بشكل موثوق ، يجب تحديد حلقة على شكل نجمة مع قطر داخلي أكبر من قطر العمود. عادة ، يمكن أن تلبي حلقة الختم ذات المقطع العرضي الأصغر احتياجات الختم الثابت. على العكس من ذلك ، يجب اختيار حلقة الختم مع مقطع عرضي أكبر لتلبية الختم الديناميكي. في حالة ارتفاع الضغط أو فجوات كبيرة ، يجب اختيار مادة مطاطية ذات صلابة أعلى. أفضل طريقة هي إضافة حلقة الاحتفاظ بـ PTFE لمنع أضرار برفس الضغط العالي.
يجمع الحلقة المغلفة على عوت العضوي بين مرونة المطاط وختمها مع المقاومة الكيميائية ل Teflon. وهي تتألف من نواة سيليكون أو فلوروببر الداخلية وطلاء Teflon FEP رفيع نسبيًا أو طلاء Teflon PFA الخارجي.
المواد: تتشابه Teflon FEP و Teflon PFA بشكل أساسي ، لكن Teflon PFA لديها مقاومة أفضل لدرجات الحرارة العالية من Teflon FEP. نطاق درجة الحرارة المعمول به Teflon FEP Shell: -60 ℃ ~ 205 ℃ يمكن استخدامه في 260 ℃ لفترة قصيرة Teflon PFA Shell: -60 ℃ ~ 260 ℃ يمكن استخدامها في 300 ℃ لمزايا زمنية قصيرة:
1. المقاومة الكيميائية المتميزة ، مناسبة لجميع الوسائط الكيميائية تقريبًا
2. نطاق درجة حرارة واسعة
3. مقاومة ضغط جيدة
4
5
6. مقاومة الضغط العالي
7. متانة ختم ممتازة وعمر الخدمة الطويلة
التطبيق: المضخات والصمامات ، أوعية التفاعل ، الأختام الميكانيكية ، المرشحات ، أوعية الضغط ، المبادلات الحرارية ، الغلايات ، شفاه أنابيب ، ضواغط الغاز ، إلخ.
صناعات التطبيق: الصناعة الكيميائية ، تصنيع الطائرات ، صناعة الأدوية ، النقل والمواصفات الكيميائية والكيميائية ، صناعة الأفلام ، هندسة التبريد ، صناعة معالجة الأغذية ، صناعة الورق ، تصنيع الصبغة ، رش الطلاء ، إلخ.
تعليمات التثبيت لخواتم الختم
1. يجب أن تكون الأجزاء التي يتم فيها تثبيت حلقات الختم أو تمريرها ناعمة وخالية من الأوساخ والأخاديد والزوايا الحادة. يجب أن تصل خشونة الثقب الداخلي إلى 1.6μ ويجب أن تصل خشونة العمود إلى 0.8UM.
2. قم بتطبيق زيت الضوء النظيف أو الشحوم لتليين سطح حلقة الختم والأجزاء ذات الصلة في ملامسة.
3. إذا كان من الصعب تثبيت حلقة الختم على العمود ، فقم بالانغماس في الماء الساخن لبضع دقائق لتوسيعها. من الأسهل تثبيت هذا الحلقة O الخلية والموسعة. قم بتثبيت الحلقة O عندما تكون ساخنة ، وسيعود حجمه إلى حجمه الأصلي بعد التبريد.
4. لا تنحني الحلقة O بعنف للغاية ، وإلا فإنها ستسبب التجاعيد في Teflon وتؤثر على استخدامها.
الضغط الموصى به من حلقة O المطلية كما يلي:
حالة الختم الثابتة: 15 ٪ -20 ٪
حالة الختم الديناميكية: 10 ٪ -12 ٪
الحالة الهوائية: 7 ٪ -8 ٪
يجب أن يأخذ الضغط الفعلي في الاعتبار ظروف العمل ، وخاصة ضغط العمل الختم وعوامل أخرى.
ميزات وتطبيقات المنتج:
| جدول معلمة أداء الحلقة |
|
|
|
|
ختم ثابت | ختم ديناميكي |
| ضغط العمل | دون الاحتفاظ بخاتم ، 20mpa كحد أقصى مع حلقة الاحتفاظ ، 40 ميجا باسكال كحد أقصى ، حلقة خاصة الاحتفاظ 200mpa كحد أقصى | دون الاحتفاظ بخاتم ، 5MPA كحد أقصى مع الاحتفاظ بخاتم ، ضغط أعلى |
| سرعة | التبادل 0.5m/s كحد أقصى ، تدوير 2M/s كحد أقصى | |
| درجة حرارة | الاستخدام العام: -30 ~+110 ، مطاط خاص: -60 ~+250 ، الدوران: -30 ~+80 | |
| واسطة | انظر قسم المواد | |
| معيار | قطر المقطع العرضي O W |
|
|||||
| المعيار الأمريكي مثل 568 البريطانية المعيار BS 1516 | 1.78 | 2.62 | 3.52 | 5.33 | 6.99 | - | |
| المعيار الياباني IT B2401 | 1.9 | 2.4 | 3.1 | 3.5 | 5.7 | 8.4 | |
| المعيار الدولي ISO 3601/1 DIN القياسية الألمانية 3771/1 المعيار الصيني CB 3452.1 | 1.8 | 2.65 | 3.55 | 5.30 | 7.00 | - | |
| أحجام مترية مفضلة | 1.0 | 1.5 | 2.0 | 2.5 | 3.0 | 3.5 | |
| 4.0 | 4.5 | 5.0 | 5.5 | 6.0 | 7.0 | ||
| 8.0 | 10.0 | 12.0 |
|
|
|
||
| المعيار الأمريكي مثل 568 (900 سلسلة) | 1.02 | 1.42 | 1.63 | 1.83 | 1.98 | 2.08 | |
| 2.21 | 2.46 | 2.95 | 3.00 |
|
|
|
|
| نطاق التطبيق من حلقات النجوم واسعة جدا. اختر المادة الصحيحة وفقًا لدرجة الحرارة والضغط والمتوسط. من أجل تكييف حلقة النجوم مع تطبيق معين ، ينبغي النظر في القيود المتبادلة بين جميع معلمات العمل. عند تحديد نطاق التطبيق ، يجب النظر في درجة حرارة الذروة ودرجة حرارة العمل المستمرة ودورة التشغيل. في التطبيقات الدوارة ، يجب أيضًا مراعاة ارتفاع درجة الحرارة الناجمة عن حرارة الاحتكاك. | |||||
| المعلمات الفنية | ختم ديناميكي | ختم ثابت |
|
||
| الحركة بالمثل | حركة الدوران |
|
|||
| ضغط العمل (MPA) | مع الاحتفاظ خاتم | 30 | 15 | 40 |
|
| دون الاحتفاظ بخاتم | 5 | - | 5 |
|
|
| السرعة (م/ث) | 0.5 | 2.0 | - |
|
|
| درجة الحرارة (℃) | المناسبات العامة: -30 ℃ ~+110 ℃ |
|
|||
| مواد خاصة: -60 ℃ ~+200 ℃ |
|
||||
| مناسبات الدوران: -30 ℃ ~+80 ℃ |
|
||||
مواد حلقة النجوم:
المادة هي عموما شو A70 نيتريل المطاط NBR.
حلقة O المطلية:
رسم تخطيطي لخدوش حلقة O مغلفة
جدول الأبعاد من أخدود الحلقة O مغلفة (موصى بها)
| قطر الأسلاك د | أ (مم) | ب (مم) | ||
| ختم ثابت | ختم ديناميكي | الختم الهوائي | ||
| 1.78 | 2.36/2.49 | 1.42/1.52 | 1.55/1.60 | 1.63/1.65 |
| 2.62 | 3.56/3.68 | 2.08/2.21 | 2.29/2.36 | 2.39/2.44 |
| 3.53 | 4.75/4.88 | 2.82/3.00 | 3.10/3.18 | 3.22/3.28 |
| 5.33 | 7.14/7.26 | 4.27/4.52 | 4.67/4.80 | 4.90/4.95 |
| 6.99 | 9.63/9.65 | 5.59/5.89 | 6.15/6.27 | 6.43/6.48 |
دليل تثبيت ختم Ruichen Seal PTFE
ⅰ. دليل التثبيت
1. يجب تثبيت الختم على الجانب المحمّل مسبقًا ، مواجهة اتجاه الضغط.
2. يجب صنع جسم الأسطوانة وقضيب المكبس مع الحطام في الدفع الذي يلبي متطلبات عينات شركتنا.
3. يجب أن تكون الحواف الحادة خالية من الأشرطة ومحاكمة أو مشطوفة.
4. يجب تغطية المواضيع ، وتوجيه أخاديد الحلقة ، وما إلى ذلك ، لأنه لا يمكن دفع الختم من خلال الأخاديد أو الثقوب المحفورة أو الأسطح الخشنة.
5. يجب إزالة أي غبار أو حطام أو جزيئات أجنبية أخرى بعناية.
6. لا ينبغي استخدام الأدوات ذات الحواف الحادة.
7. من السهل توسيع حلقات ختم PTFE في الزيت الساخن أو الماء (حوالي 80 إلى 120 درجة) ويسهل استعادتها إلى شكلها الأصلي.
8. إذا كانت شفة الختم تحتاج إلى المرور عبر فتحة ضغط الزيت ، فيجب استخدام عصا بلاستيكية لدفع الشفة برفق لمنع شطب الفتحة من إتلاف الشفة الختم. يجب أن تكون ثقوب الأسطوانة مشطوفة. (الشكل 3)
ⅱ. طريقة التثبيت
يمكن تثبيت الأخاديد المفتوحة (المقسمة) بدون أدوات.
تركيب أختام قضيب مكبس الأخدود المغلقة (الشكل 1)
1. تنظيف وزيت جميع ركائز الختم والأختام وأدوات التثبيت.
2. ضع حلقة المطاط في الأخدود (احرص على عدم تحريفه).
3. اضغط على حلقة ختم PTFE في شكل الكلى دون تشكيل منحنى مدبب ، ضع حلقة ختم PTFE المضغوطة في الأخدود ، وقم بتسطيحه برفق باليد.
4. ادفع مغزل الاسترداد إلى الختم وقلب المنسيلة برفق. اتركه لمدة دقيقة واحدة وأزل المنديل. التثبيت اكتمل.
تركيب أختام المكبس في الأخاديد المغلقة (الشكل 2)
1. تنظيف وزيت جميع ركائز الختم والأختام وأدوات التثبيت.
2. ضع حلقة المطاط في الأخدود (احرص على عدم تحريفه).
3. ادفع حلقة الختم PTFE على غلاف الدليل وتمتد حلقة الختم.
4. ادفع حلقة الختم الممتدة في أخدود المكبس.
5. ادفع غلاف التصحيح إلى حلقة الختم وقم بتدوير كم التصحيح في نفس الوقت. قم بإزالة غلاف التصحيح بعد تركه لمدة دقيقة واحدة ويكمل التثبيت.
ملاحظة: 1. يرجى استشارة شركتنا إذا كان لا يمكن تثبيت المنتج المحدد في عينة شركتنا في أخدود مغلق ولكنه غير مناسب لأخدود مفتوح.
2. التثبيت أعلاه لأختام PTFE لا ينطبق على جميع أختام PTFE. يرجى استشارة شركتنا إذا لزم الأمر.



























عنوان
رقم 1 طريق رويتشن، مجمع دونغليوتينغ الصناعي، منطقة تشنغيانغ، مدينة تشينغداو، مقاطعة شاندونغ، الصين
هاتف
بريد إلكتروني